Witam serdecznie!
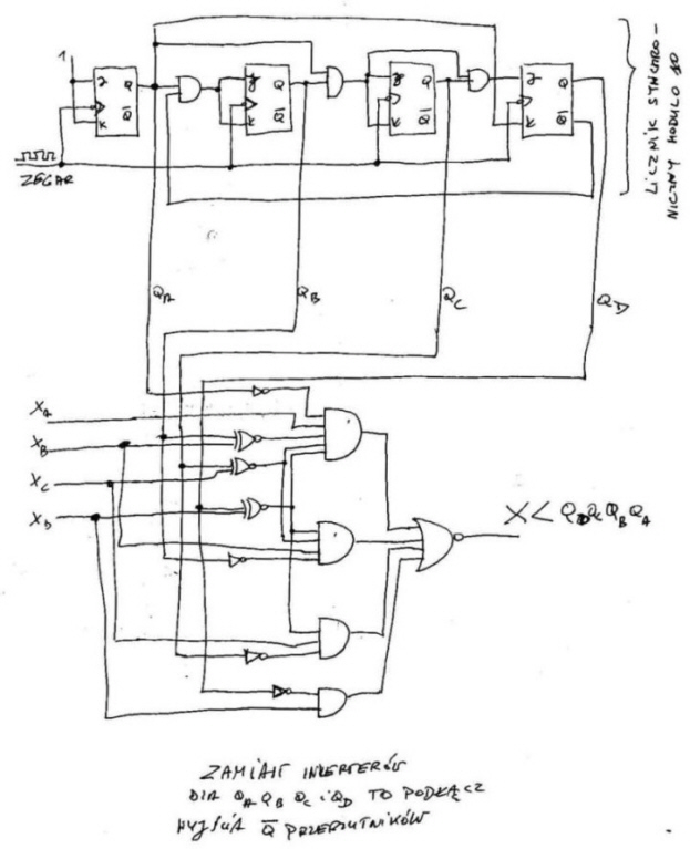
Czy wie ktoś może jak zrealizować PWM na przerzutnikach JK?
Jest to zadanie z laboratoriów i ma służyć jedynie celom dydaktycznym.
Chodzi o to aby na 4 bitach (binarnie) ustawiać wartość od 1 do 10 odpowiadającą szerokości impulsu - czyli ustawiamy na czterech klawiszach np. 0011 mamy wartość 3 i taką też szerokość ma mieć generowany sygnał.
Bardzo byłbym wdzięczny za jakiekolwiek wskazówki i porady.
Z góry dziękuję.
Pozdrawiam
Aktyw Forum
Zarejestruj się na forum.ep.com.pl i zgłoś swój akces do Aktywu Forum. Jeśli jesteś już zarejestrowany wystarczy, że się zalogujesz.
Sprawdź punkty Zarejestruj sięPWM na JK
Moderatorzy:Jacek Bogusz, Moderatorzy
proste PWM
heja,
najprościej to użyć licznik i komparator.
na jedno wejście komparatora dajesz wyjście licznika a na drugie sygnały ustalające wypełnienie.
wyjsciem układu są wówczas wyjścia komparatora a>b oraz a<b.
np. komparator 7485, licznik 7490 lub 7493
pozdro.
najprościej to użyć licznik i komparator.
na jedno wejście komparatora dajesz wyjście licznika a na drugie sygnały ustalające wypełnienie.
wyjsciem układu są wówczas wyjścia komparatora a>b oraz a<b.
np. komparator 7485, licznik 7490 lub 7493
pozdro.
Kto jest online
Użytkownicy przeglądający to forum: Obecnie na forum nie ma żadnego zarejestrowanego użytkownika i 12 gości
