Aktyw Forum
Zarejestruj się na forum.ep.com.pl i zgłoś swój akces do Aktywu Forum. Jeśli jesteś już zarejestrowany wystarczy, że się zalogujesz.
Sprawdź punkty Zarejestruj sięAVT 2132 Przedwzmacniacz z regulacją barwy dźwięku
Moderatorzy:Jacek Bogusz, Grzegorz Becker, procesorowiec, robertw, Moderatorzy
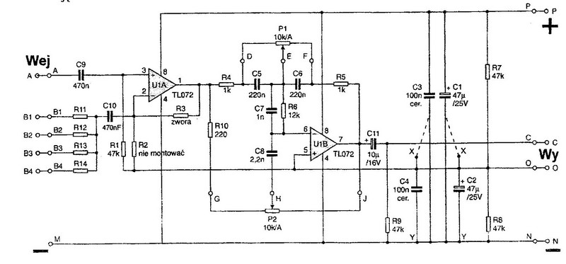
Przedwzmacniacz ten użyłem do budowy mojego wzmacniacza audio.Do zasilania wzmacniacza avt 2671 z kością TDA 7294 zastosowałem zasilacz avt 2701.Chcę tym samym zasilaczem zasilić również przedwzmacniacz jednak nie jestem pewny czy jest do dobre rozwiązanie.Moduł przedwzmacniacza podłączyłem pod ten zasilacz przez potencjometr montażowy 104.Mierzyłem jednak napięcie na wyjściu tego zasilacza nie obciążonego i wynosi 73 V.Przedwzmacniacz zaś potrzebuje napięcia z zakresu 8...24 V.Zmniejszyłem napięcie potencjometrem do wymaganego jednak mam pytanie czy ten potencjometr nie ulegnie przepaleniu,a co za tym idzie zniszczy się również przedwzmacniacz??? Drugie pytanie.Wyjście tego przedwzmacniacza to C.Zasilanie tego przedwzmacniacza to P,0,N.Ja wyprowadzam sygnał z C razem z 0,a może powinno być C z N??? Te twa przewody(C,0) podłączam pod IN,01 w module wzmacniacza ??? Prawidłowo??? Nie chcę niczego spalić.
ECC88 dzięki za odpowiedź.Jednak ja narazie zasilam przedwzmaka przez ten potencjometr montażowy.Mam poważny problem,bo nie mogę odgadnąć jaka jest przyczyna tego,że po uruchomieniu nie ma dźwięku albo gra tak słabiutko,że ledwo słyszalnie.Natomiast gdy wyłączam wzmacniacz przez krótką chwilę gra trochę głośniej ale z trzaskami.Jedyne pocieszenie to takie,że nic mi nie eksplodowało przy włączaniu,bo zaryzykowałem włączenie bez żarówki wpiętej w uzwojenie pierwotne transformatora.Może będzie ten post czytał jakiś doświadczony fachowiec.Dodam jeszcze,że przy włączonym wzmacniaczu z głośników nie dobiegają żadne trzaski.Dopiero jak wyłączam z sieci muzyka jakby chciała się "przebić" na chwilę razem z trzaskami.Pomyślałem,że problem leży właśnie w tym przedwzmacniaczu,więc puściłem sygnał bezpośrednio do modułu wzmacniacza ale z głośników dochodziło buczenie.
A może problem leży w tym,że w czasie lutowania na oryginalnej dwustronnej płytce avt z metalizowanymi otworami lutowałem praktycznie tylko z jednej strony,a z dugiej nie nakładałem cyny chyba,że sama przeszła przez otwór na drugą stronę.Dodam jeszcze,że dałem na dwa moduły wzmacniacza dwa moduły przedwzmacniacza,czyli w sumie mam zmacniacz stereo ale każdy kanał lewy i prawy zachowuje się tak samo.Dziwne to trohe.
Wcześniej pisałem,że może sygnał z przedwzmacniacza wyprowadzić razem z N,czyli C i N(takie oznaczenia są na płytce) ale zaowocowało to tylko popaleniem części przewodów wychodzących z przedwzmacniacza i chmurą dymu.Trwało to tylko chwilę więc nie sądzę żeby uszkodzeniu uległo coś więcej,a i przewody jakie tu zastosowałem były bardzo delikatne.Pozdrawiam i liczę na pomoc na placu boju.
W modułach wzmacniaczy na radiatorach są wentylatory(po jednym) i one chodzą,a dźwięku jak nie było tak nie ma...
No właśnie...gdzieś na forum przeczytałem(bo ktoś miał identyczny problem ale w sumie nie otrzymał odpowiedzi) i jest to dla mnie prostą ale istotną wskazówką,że wzmacniacz zaczyna jako tako grać przez krótką chwilę po odłączeniu zasilania TYLE ILE STARCZY MU PRĄDU Z ELEKTROLITÓW-i ta właśnie sytuacja ma miejsce u mnie.Moduł wzmacniacza jest jakby zatkany i odtyka się z chwilą wyłączenia ale tylko na moment.Jaka jest tego przyczyna myślę dalej.......
.Witaj ECC88.Jak zorganizuje zdjęcia,to zamieszczę.Pozdrawiam.Uff...ale się napisałem.
Nie daje mi jednak spokoju,to napięcie na wyjściu modułu zasilacza avt 2701,bo wynosi ok. 73 V i być może tutaj jest cały problem,bo napięcie jest za wysokie.Wszystko zasilam trafem 2*24 V 200 W.Moduł tego zasilacza-do punktów A,B,C,D dołączyłem dwa uzwojenia wtórne trafa.Ogólnie tak jak to zostało napisane w instrukcji zrobiłem z tego zasilacz symetryczny i na wyjściu mam +,GND,-.Pod + mam podłączone DWA plusy z dwóch modułów wzmacniacza,a pod - mam podłączone DWA minusy tych samych modułów i tak samo jest z GND.Tak więc wychodzi na to,że dla każdego z dwóch modułów wzmaka,to napięcie wynosi 73 V!!! I...być może jakieś zabezpieczenia kości TDA 7294 odcinają to napięcie i dlatego nie działa.Proszę mnie oświecić,bo być może jestem fantastą i czegoś tutaj nie rozumię.
Nie daje mi jednak spokoju,to napięcie na wyjściu modułu zasilacza avt 2701,bo wynosi ok. 73 V i być może tutaj jest cały problem,bo napięcie jest za wysokie.Wszystko zasilam trafem 2*24 V 200 W.Moduł tego zasilacza-do punktów A,B,C,D dołączyłem dwa uzwojenia wtórne trafa.Ogólnie tak jak to zostało napisane w instrukcji zrobiłem z tego zasilacz symetryczny i na wyjściu mam +,GND,-.Pod + mam podłączone DWA plusy z dwóch modułów wzmacniacza,a pod - mam podłączone DWA minusy tych samych modułów i tak samo jest z GND.Tak więc wychodzi na to,że dla każdego z dwóch modułów wzmaka,to napięcie wynosi 73 V!!! I...być może jakieś zabezpieczenia kości TDA 7294 odcinają to napięcie i dlatego nie działa.Proszę mnie oświecić,bo być może jestem fantastą i czegoś tutaj nie rozumię.
- Załączniki
Ostatnio zmieniony 15 gru 2009, o 14:45 przez nalol, łącznie zmieniany 13 razy.
Jest to zasilacz symetryczny, napięcia mierzy się w stosunku do masy , czyli P - O to plus i N - O to minus zasilania, a nie między P i N. Wtedy powinieneś mieć napięcie około +/- 35V.
Następne: podłączyłeś masę zasilania do wjścia przedwzmacniacza więc jak on ma działać ?.O ile poszedł z niego dym to już jest po nim. Zasilanie tego przedwzmacniacza najlepiej jest rozwiązać przy pomocy drugiego transformatora, albo dowinięcia uzwojenia na tym toroidzie. Weż przeczytaj może to, powinno pomóc http://www.cyfronika.com.pl/kityavt3/avt2671.htm
Następne: podłączyłeś masę zasilania do wjścia przedwzmacniacza więc jak on ma działać ?.O ile poszedł z niego dym to już jest po nim. Zasilanie tego przedwzmacniacza najlepiej jest rozwiązać przy pomocy drugiego transformatora, albo dowinięcia uzwojenia na tym toroidzie. Weż przeczytaj może to, powinno pomóc http://www.cyfronika.com.pl/kityavt3/avt2671.htm
Karel21 dzięki za wyjaśnienie.W takim razie zasilanie nie jest przyczyną tego,że nie mogę wydobyć dźwięku z tego wzmacniacza.Problem leży gdzie indziej...hm...tylko gdzie...???
HAAAAAAAAA!!!!!!!!!!
Mam chyba rozwiązanie.Właśnie mierzyłem napięcie na tym potencjometrze zasilającym ale nie między plus i minus,a między plus i masą i wyszło ok. 2V,a układ przedwzmacniacza potrzebuje ok.10 V i od tego progu może dopiero pracować.Trzymajcie kciuki!
No nic... układziki przedwzmacniacza poszły z dymem...odór spalenizny bucha od nich niczym z piekielnego pieca
Jednak zastosuje oddzielne zasilanie.Może ktoś ma jakieś konkretne propozycje??? Wygrzebałem w częściach taki oto scalak8AATT3M NE5532P.To jest ten sam scalak co 88ALLRM NE5532P(ten który się spalił)???
HAAAAAAAAA!!!!!!!!!!
Ze schematu wynika, że właśnie tak powinno być.może powinno być C z N???
I tak jak napisał karel21, nawiń dodatkowe uzwojenia na trafie i po problemie, to najtańsze i najbezpieczniejsze rozwiązanie.
Nawiń żebyś otrzymał ± 2x12-15V≈ po tym mostek prostujący, dwa kondensatory filtrujące po 1000µF na połówkę zasilania, stabilizatory serii 7812 i 7912, dodatkowo między IN 0 OUT po kondensatorze 100nF w razie gdyby stabilizatory miały się wzbudzać, po stabilizatorach można dać jeszcze jakieś 100µF na wyjście, wtedy masz "idealny" zasilacz do przedwzmacniacza.
Oczywiście kable zasilające możliwie najkrótsze i dobrze ułożone, kable sygnałowe ekranowane z tym, że lutujesz ekran z jednej strony tak żeby nie zrobić pętli masy.
Tak to jest ten sam scalak. Najbardziej istotne są te oznaczenia NE5532P a nie 8AATT3M. Jeżeli wybierzesz opcje dowinięcia uzwojeń, to nawiń je na wierzchu tych co są. Powinen wystarczyć przewód 0.1mm. w emalii, będzesz potrzebował około 3 - 4 zwoi na volt. Najlepiej to nawiń te pare zwoi i zmierz miernikiem napięcie. Prostownik to tak jak opisał end.
Dobrze.Spróbuje zrobić tak jak mi radzicie.Ale ten drut będe musiał nawijać na całym dookoła,czy tylko można na jego części? 3-4 zwoje na jeden volt? W tym module wzmacniacza mam cewkę powietrzną.Jakbym nawinął taką jedną cewkę(oczywiście większą gabarytowo) na toroida to będzie jedno uzwojenie i nie trzeba go izolować od następnego? Sorry,że tak dużo pytam.Narazie płytki przedwzmacniacza z potencjometrami wykręciłem do czasu aż zrobie to zasilanie i kupie jeszcze jednego scalaka do przedwzmacniacza,bo mam tylko jedną sztukę na stanie.Narazie podłączyłem bezpośrednio przez potencjometry(regulacja głośności po jednym na każdy moduł wzmacniaca) i gra.Dźwięk jest ładny,czysty,krystaliczny.Jak dla mnie hig-end chociaż nie jestem żadnym audiofilem.Całość podłączyłem pod kolumny mojej roboty na przetwornikach stx i zwrotnicach stx.W kolumnie mam wyskotonowca,średniotonowca i niskotonowego.Problem mam jednak z basem,bo jak na mój gust jest go trochę za mało i pewnie tym przedwzmacniaczem mógłbym wyciągnąć go więcej.Jak na razie chociaż dźwięk jest iście laboratoryjny i elegancki,to tylko dla wokalu,muzyki poważnej,jazzu.Może w przyszłości dam większego niskotonowca albo dorobię suba.
http://stx.sote.pl/gdn-14-100-8-sk.html -niskotonowy
http://stx.sote.pl/gdm-10-60-8-pc.html -średniotonwy
http://stx.sote.pl/gdwk-10-200-8-pj.html -wysokotonowy
http://stx.sote.pl/gdn-14-100-8-sk.html -niskotonowy
http://stx.sote.pl/gdm-10-60-8-pc.html -średniotonwy
http://stx.sote.pl/gdwk-10-200-8-pj.html -wysokotonowy
Nawiń tak jak masz na tym rysunku, przede wszystkim nawiń te uzwojenie próbne abyś miał pewność co do liczby zwoi na Volt. To próbne może być nawinięte jakimkolwiek przewodem DNE Nawiń je zgodnie z kierunkiem nawinięcia poprzedniego uzwojenia, w celu uzyskania napięcia symetrycznego +/- , możesz nawinąć je równocześnie dwoma przewodami.
Ostatnio zmieniony 19 gru 2009, o 12:25 przez karel21, łącznie zmieniany 1 raz.
Dobrze Karel21 tak zrobię.Dzięki za rady jeszcze raz,a jak zrobię zamieszczę fotke.Mam tylko pytanko odnośnie tego scalaka w module przedwzmacniacza,bo spotkałem się też z takim oznaczeniem NE5532N - na końcu jest literka "N",a nie "P".Jaka jest różnica między tymi scalakami.Czy do podstawki w module przedwzmacniacza śmiało mogę włożyć tą z literką "N" na końcu??
I jeszcze sprawa tego przewodu 0,1 mm w emalii.Gdzie ja takowy zakupie żeby nie płacić za przesyłkę? Wolałbym kupić na stronie avt dodatkowo jak będę kupował inne części ale jakoś nie zauważyłem takiego przewodu.Pozdrawiam.
Dodano po chwili namysłu:
End tak się składa,że mam te stabilizatory,o których piszesz(ale mam po jednym z każdej serii.Schemat znacznie przyśpieszyłby moją pracę,a najlepiej schemat ścieżek.Z góry dzięki.
*) Edit Pajączek.
Dodano po chwili namysłu:
End tak się składa,że mam te stabilizatory,o których piszesz(ale mam po jednym z każdej serii.Schemat znacznie przyśpieszyłby moją pracę,a najlepiej schemat ścieżek.Z góry dzięki.
*) Edit Pajączek.
Ostatnio zmieniony 20 gru 2009, o 13:10 przez nalol, łącznie zmieniany 4 razy.
Schemat stabilizatora 12V na 7812. . TU masz opis zasilacza . Chcesz więcej wpisz w Google np. LM7812 i tam jest naprawdę dużo informacji. Sprawdż wyprowadzenie końcówek układu 7912 mają inne wyprowadzenia. Co do NE5532 z literką N lub P na końcu ,to może oznaczać zakres temperatur w jakich może on pracować , nie sprawdzałem . Natomiast zastosowanie i wyprowadzenia ma te same.Tak że można je stosować zamiennie. http://www.google.pl/search?hl=pl&sourc ... =5&oq=7812
Teraz powinieneś go otworzyć . Układ ścieżek jest bardzo prosty , powinieneś dać sobie rade bez problemu.
Teraz powinieneś go otworzyć . Układ ścieżek jest bardzo prosty , powinieneś dać sobie rade bez problemu.
Kto jest online
Użytkownicy przeglądający to forum: Obecnie na forum nie ma żadnego zarejestrowanego użytkownika i 0 gości



