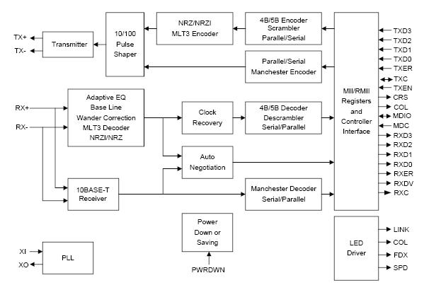
Witam. Czasem dokumentacja sprzętu jest bardzo uboga. W przypadku kontrolera ethernetu KS8721 dedykowanego do pracy z mikrokontrolerami wyposażonymi w MAC (w moim przypadku LPC2378) nie podano inicjalizacji. Jest opis rejestrów ale nic wiecej. Trudno też znaleźć materiały rozjaśniające temat obsługi ethernetu w taki sposób:
[<uC + [MAC]> interfejs MII] <<--->> [interfejs MII <KS8721 >] <<---->> Ethernet
Chcoć znalazłem materiały na temat mikroserwerów to do dziś np nie wiem co się dzieje w momencie gdy przykładowy KS8721 odbierze ramke. Co robi z danymi? Czy jest jakiś standard obsługi odebranych danych? Oczywiście są gotowe moduły, programy i systemy operacyjne dedykowane do obsługi ethernetu, ale nie o to chodzi aby iść na łatwiznę. Narazie chciałbym wysłać jedną prostą ramkę po ethernecie przy połączeniu bezpśrednim dwoch urządzeń bez stosowania dodatkowych protokołów. W polu danych chciałbym umieścić jeden lub kilka bajtów - na przykład odczyt temperatury lub inną informacje. Dlatego proszę forumowiczów o wzajemną pomoc, uzyskanymi efektami końcowymi chetnie się podziele z innymi.
Aktyw Forum
Zarejestruj się na forum.ep.com.pl i zgłoś swój akces do Aktywu Forum. Jeśli jesteś już zarejestrowany wystarczy, że się zalogujesz.
Sprawdź punkty Zarejestruj sięLPC2378 + KS8721 - Ethernet po interfejsie MII
Moderatorzy:Jacek Bogusz, procesorowiec, Moderatorzy
-
b.tarnowski
- -

- Posty:1
- Rejestracja:29 lut 2008, o 08:54
- Lokalizacja:GLIWICE
Kto jest online
Użytkownicy przeglądający to forum: Obecnie na forum nie ma żadnego zarejestrowanego użytkownika i 11 gości