Czy ktoś ma może jakies gotowe shematy ?
Aktyw Forum
Zarejestruj się na forum.ep.com.pl i zgłoś swój akces do Aktywu Forum. Jeśli jesteś już zarejestrowany wystarczy, że się zalogujesz.
Sprawdź punkty Zarejestruj sięProsty przedwzmacniacz mikrofonowy na lampach
Moderatorzy:Jacek Bogusz, Tomasz Gumny, Futrzaczek, Adam Tatuś, Moderatorzy
Witam. Chce zbudowac prosty preamp do mikrofonu dynamicznego (Shure PG57, SM57).
Czy ktoś ma może jakies gotowe shematy ?
, nieznam sie na elektronice żeby tak żeby projektowac układy itp, chcaiłbym zbudowac taki preamp na npo 2x ECC84nie koniecznie z tranformatorami we/wy (słyszałem że można to obejść. Będe wdzieczny za odp, pozdrawiam
Czy ktoś ma może jakies gotowe shematy ?
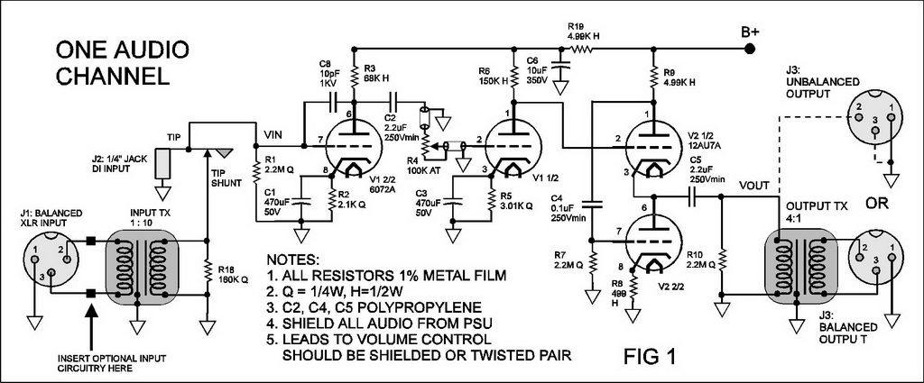
Fajnie schematy ja znalazłem coś takiego,.... oczywiscie sam niebede tego robił bo nawet niewiem kóry transormator to sieciowy kótry nie itp
)
Opis:
http://www.tangible-technology.com/tubes/1566/1566.html
Opis:
http://www.tangible-technology.com/tubes/1566/1566.html
Ostatnio zmieniony 5 sty 2009, o 16:25 przez shotgun, łącznie zmieniany 1 raz.
Wszystko super, ale powiedz mi gdzie masz zamiar kupić te trafa, które masz na wejściu i wyjściu przedwzmacniacza? No i doszły mnie opinie, że ECC83 czyli 12AX7 to nie jest zbyt dobry wybór jeśli chodzi o przedwzmacniacze typowo mikrofonowe. EF86 mniej szumią i mniej mikrofonują - a to przecież bardzo ważne.
Z serii ECC8X można próbować z ECC81
Z serii ECC8X można próbować z ECC81
Ostatnio zmieniony 5 sty 2009, o 23:55 przez end, łącznie zmieniany 2 razy.
- Aleksander Zawada
- Moderator

- Posty:532
- Rejestracja:21 lut 2003, o 12:10
- Lokalizacja:Warszawa
- Kontaktowanie:
Panowie, tanie trafa wejściowe i wyjściowe? Proponuję rozpocząć od Neutrika, ale w Monacorze też coś mają.
Z Neutrika można wybrać jako wejściowe NTM4 lub NTM1
http://www.neutrik.com/fl/en/audio/204_ ... tlist.aspx
A z Monacora np tańsze LTR-110:
http://monacor.pl/catalogue.phtml?Comp= ... SubKtg=595
lub Neutrika NTL1.
Istotny koszt przedwzmacniacza lampowego, mikrofonowego to właśnie te nieszczęsne transformatorki...
Da się to ominąć, robiąc po prostu hybrydę. Stopień wejściowy i wyjściowy można zrobić na tranzystorach + wzmacniacz operacyjny, a wyjściowy na wzmacniaczach operacyjnych, dodatkowo go symetryzując. Sam "środek" takiego przedwzmacniacza to właśnie układ z lampą, która nadaje te cha-czne zniekształcenia dające uczucie "ciepła".
Jako lampy najczęściej używa się 12AX7, są też spotykane, droższe,bardziej wyrafinowane konstrukcje na innych lampach.
Najbardziej znany chyba projekt, najlepszy
http://www.gyraf.dk/gy_pd/g9/g9pd.htm
Ale tylko z trafkami Lundahl'a... (pierońsko drogie..
)
Z Neutrika można wybrać jako wejściowe NTM4 lub NTM1
http://www.neutrik.com/fl/en/audio/204_ ... tlist.aspx
A z Monacora np tańsze LTR-110:
http://monacor.pl/catalogue.phtml?Comp= ... SubKtg=595
lub Neutrika NTL1.
Istotny koszt przedwzmacniacza lampowego, mikrofonowego to właśnie te nieszczęsne transformatorki...
Da się to ominąć, robiąc po prostu hybrydę. Stopień wejściowy i wyjściowy można zrobić na tranzystorach + wzmacniacz operacyjny, a wyjściowy na wzmacniaczach operacyjnych, dodatkowo go symetryzując. Sam "środek" takiego przedwzmacniacza to właśnie układ z lampą, która nadaje te cha-czne zniekształcenia dające uczucie "ciepła".
Jako lampy najczęściej używa się 12AX7, są też spotykane, droższe,bardziej wyrafinowane konstrukcje na innych lampach.
Najbardziej znany chyba projekt, najlepszy
http://www.gyraf.dk/gy_pd/g9/g9pd.htm
Ale tylko z trafkami Lundahl'a... (pierońsko drogie..
Kto jest online
Użytkownicy przeglądający to forum: Obecnie na forum nie ma żadnego zarejestrowanego użytkownika i 36 gości


