Witam
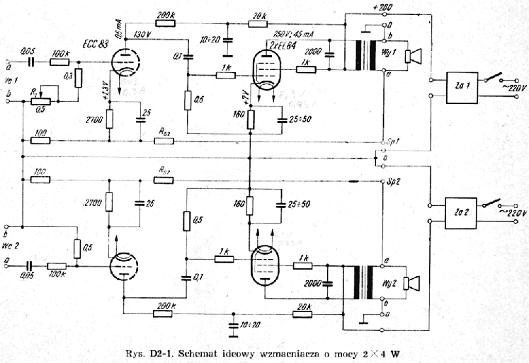
jak wynika z tematu przymierzam sie do budowy wzmacniacza audio lampowego 2x4W schemat samej koncówki (końcówek) mocy mam (załączam w załączniku).
I tu moje pytania do fachowców ?
1. Czy poniższy schemat końcówki bedzie dobry, czy polecacie jakiś bardziej rozbudowany układ może coś na lampie EF86 w stopniu wejściowym, ewentualne zastąpienie lampy ECC83 na ECC85 ?
2. W jaki sposób zbudować wskaźniki wysterowania na lampie EM84 dla każdej z końcówek, czy schemat podłączenia który posiadam nada sie do lampy EL84 ?
3. Jaki polecacie przedwzmacniacz z regulacją tonów wysokich i niskich, bo niestety nic nie umie znaleźć w sieci ?
4. Czy ma ktoś jakiś pomysł jak zbudować same chassis do takiego wzmacniacza, bo w takie mechaniczne "zabawy" nie jestem zbyt dobry i każda pomoc, porada napewno się przyda, w miąrę możliwości chciałbym lampy wyeksponować na zewnątrz chassis :>
Z góry dziękuję za pomoc
Pozdrawiam wszystkich
Aktyw Forum
Zarejestruj się na forum.ep.com.pl i zgłoś swój akces do Aktywu Forum. Jeśli jesteś już zarejestrowany wystarczy, że się zalogujesz.
Sprawdź punkty Zarejestruj sięLampowy wzmacniacz audio 2x4W
Moderatorzy:Jacek Bogusz, Tomasz Gumny, Futrzaczek, Adam Tatuś, Moderatorzy
-
goofy_tychy
- -

- Posty:43
- Rejestracja:15 sty 2007, o 17:54
- Lokalizacja:Tychy
- Kontaktowanie:
-
janek11389
- -

- Posty:682
- Rejestracja:5 cze 2004, o 10:57
-
goofy_tychy
- -

- Posty:43
- Rejestracja:15 sty 2007, o 17:54
- Lokalizacja:Tychy
- Kontaktowanie:
-
janek11389
- -

- Posty:682
- Rejestracja:5 cze 2004, o 10:57
To wszystko na jedno kopyto, problem tylko, jaki chcesz sobie ustawić stosunek basu do jednego kiloherca. Najlepiej zerżnij sobie z fabrycznego wzmacniacza, Np. z tego http://www.trioda.nazwa.pl/fonar/audio/ ... 1_02_1.htm pewny i sprawdzony!
-
goofy_tychy
- -

- Posty:43
- Rejestracja:15 sty 2007, o 17:54
- Lokalizacja:Tychy
- Kontaktowanie:
Troszke rozbudowany schemat, widze że stopień wejściowy końcówki jest na EF86 to chyba dobrze ;], a tyle stopni nie będzie mi potrzebne, wzmacniacz ma być podłączony pod komputer, odtwarzacz CD itp.
Zastanawiam się nad dwoma koncówkami w układzie przeciwsobnym, tylko jest jeden problem, transformatory, może ktoś wię gdzie można tanio jakieś zdobyć, bo nawijanie to raczej nie na moje "nerwy"
Pozdrawiam
Zastanawiam się nad dwoma koncówkami w układzie przeciwsobnym, tylko jest jeden problem, transformatory, może ktoś wię gdzie można tanio jakieś zdobyć, bo nawijanie to raczej nie na moje "nerwy"
Pozdrawiam
Kto jest online
Użytkownicy przeglądający to forum: Obecnie na forum nie ma żadnego zarejestrowanego użytkownika i 17 gości