Aktyw Forum
Zarejestruj się na forum.ep.com.pl i zgłoś swój akces do Aktywu Forum. Jeśli jesteś już zarejestrowany wystarczy, że się zalogujesz.
Sprawdź punkty Zarejestruj sięPamięci komputerowe RAM
Moderatorzy:Jacek Bogusz, Moderatorzy
Witam,
czy ma ktoś może materiały o sterowaniu i pinologii takich pamięci. Na allegro można kupić takie kości za grosze, a czasem w urządzeniach potrzeba dużych pokładów pamięci.
Chodzi mi o kości SDR SDRAM(aby odczyt/zapis zachodził jedynie przy zboczu narastającym/opadającym zegara) np http://www.allegro.pl/item148688334_pam ... ancja.html
Jeśli chodzi o czas dostępu to mam odbierać dane ze stałą częstotliwością 40MHz
Czy takie kostki też sterować można licznikami binarnymi tylu 74ls90? Które piny to piny adresowe, a które oddają dane?
Barzdzo proszę o jakieś pomoce, najlepiej artykuły.
Pozdrawiam
[ Dodano: 09-12-2006, 14:56 ]
Może niezbyt się precyzyjnie wyraziłem. Potrzebuję 512kB do 1Mb pamięci SDR SDRAM, która zostane raz zapisana, a potem cały czas odczytywana. Co więcej, nie będą mi potrzebne dane wybiórczo, np komórka setna, a potem tysięczna, będę odczytywał po koleji - dlatego myślę nad zastosowaniem licznika adresowego, który będzie zliczał narastające/opadająće zbocza zegara taktującego pamięć. Po osiągnięsciu konkretnej wartości zzeruje się i cykl rozpocznie się od nowa. Cały problem polega na tym, że potrzeba mi 24bitowej pamięci, a w internecie nigdzie nie widzę takich scalaków, o odpowiendim czasie dostepu i odpowiedniej dla mnie cenie.
Kostki komputoerowe taktuje się 66MHz, 100MHz lub 133MHz - co załatwia sprawę - zakładam, że dostęp do komórki i np odczytanie zachodzi podczas jednego taktu. Ponadto kostki takie kosztują teraz 5pln 32MB, a za 16bitową kostkę 512kb 10ns dostęp na TME zapłacę 13pln - więc...
Czy może z takich kostek komputerowcyh da się odlutować scalaki, które można zastoswać pojedyńczo - bo wydaje mi się, że taka cała kośc skałda się z paru scalaków np po 2MB.
Bardzo proszę o jakiekolwiek informacje - głównie pinologie, ponieważ zasadę działania pamięci RAM nieco pojąłem.
czy ma ktoś może materiały o sterowaniu i pinologii takich pamięci. Na allegro można kupić takie kości za grosze, a czasem w urządzeniach potrzeba dużych pokładów pamięci.
Chodzi mi o kości SDR SDRAM(aby odczyt/zapis zachodził jedynie przy zboczu narastającym/opadającym zegara) np http://www.allegro.pl/item148688334_pam ... ancja.html
Jeśli chodzi o czas dostępu to mam odbierać dane ze stałą częstotliwością 40MHz
Czy takie kostki też sterować można licznikami binarnymi tylu 74ls90? Które piny to piny adresowe, a które oddają dane?
Barzdzo proszę o jakieś pomoce, najlepiej artykuły.
Pozdrawiam
[ Dodano: 09-12-2006, 14:56 ]
Może niezbyt się precyzyjnie wyraziłem. Potrzebuję 512kB do 1Mb pamięci SDR SDRAM, która zostane raz zapisana, a potem cały czas odczytywana. Co więcej, nie będą mi potrzebne dane wybiórczo, np komórka setna, a potem tysięczna, będę odczytywał po koleji - dlatego myślę nad zastosowaniem licznika adresowego, który będzie zliczał narastające/opadająće zbocza zegara taktującego pamięć. Po osiągnięsciu konkretnej wartości zzeruje się i cykl rozpocznie się od nowa. Cały problem polega na tym, że potrzeba mi 24bitowej pamięci, a w internecie nigdzie nie widzę takich scalaków, o odpowiendim czasie dostepu i odpowiedniej dla mnie cenie.
Kostki komputoerowe taktuje się 66MHz, 100MHz lub 133MHz - co załatwia sprawę - zakładam, że dostęp do komórki i np odczytanie zachodzi podczas jednego taktu. Ponadto kostki takie kosztują teraz 5pln 32MB, a za 16bitową kostkę 512kb 10ns dostęp na TME zapłacę 13pln - więc...
Czy może z takich kostek komputerowcyh da się odlutować scalaki, które można zastoswać pojedyńczo - bo wydaje mi się, że taka cała kośc skałda się z paru scalaków np po 2MB.
Bardzo proszę o jakiekolwiek informacje - głównie pinologie, ponieważ zasadę działania pamięci RAM nieco pojąłem.
Nie wydaje mi się, że nie trzeba je odświerzać. Sama nazwa mówi, że to Static RAM, DRAM trzeba, chyba, że ja coś motam.
Znalzłem objasnienie pinów
http://www.hardwarebook.net/connector/index.html
tylko teraz nie wiem od której to strony się liczy te piny - ma może ktoś coś z obrazkiem
Znalzłem objasnienie pinów
http://www.hardwarebook.net/connector/index.html
tylko teraz nie wiem od której to strony się liczy te piny - ma może ktoś coś z obrazkiem
Ups
zasugerowałem się tym S na początku SDRAM. No dobrze, a jak to jest w komputerach, pamięci te są odświerzane tak często - a jesli nie ma potrzeby zmiany danych na np 3godziny to komputer jak głupi odświerza każdą komórkę? Matrycę jaką chcę sterować: LG LP104S2. Myślalem, aby do pamięci SRAM zapisać cały cykl sterowania matrycy łącznie z obrazem i puszczać go w kółko - statyczny obraz. Teraz jest niestety większy problem, bo się okazało, że SDRAM to nie pamięć statyczna 
A istnieją może pamięci stałe, jakieś flash, EPROM albo EEPROM o czasie dostepu 1/40MHz - to nie byłoby potrzeby stosowania ramu - tylko ile taka pamięc by kostowała 24bity min 1Mb.
A istnieją może pamięci stałe, jakieś flash, EPROM albo EEPROM o czasie dostepu 1/40MHz - to nie byłoby potrzeby stosowania ramu - tylko ile taka pamięc by kostowała 24bity min 1Mb.
No jesli by to miala byc pamiec obrazu, to flash chyba srednio. Niby te 100 tys cykli zapisu to duzo, ale bez przesady. To juz tak na pierwszy rzut dyskwalifikuje raczej eeprom czy flash do takiego rozwiazania. Pomijajac juz czasy dostepu / szybkosc transmisji.
Chyba jednak pozostaje Ci zrobienie tego odswiezania
Komputer odswieza niezaleznie czy dane beda aktualizowane czy nie
normalnie jak goopi 
Chyba jednak pozostaje Ci zrobienie tego odswiezania
No jesli to ma byc statyczny obraz...Ale Sova chce odczytywac azapisywac
![]()
Edit: Faktycznie, raz pisze
by chwile pozniejChodzi mi o kości SDR SDRAM(aby odczyt/zapis zachodził jedynie przy zboczu narastającym/opadającym zegara) np
Wiec jesli tak, to juz lepiej brzmi, i w takim wypadku wycofuje ta uwage o liczbie cykli. Choc nie pamietam bym widzial ostatatnio jakies nowinki o az tak szybkich flash.która zostane raz zapisana, a potem cały czas odczytywana. Co więcej, nie będą mi potrzebne dane wybiórczo (...) będę odczytywał po koleji
Ps. Apropo pinologii: Look this
Wszystko jest wg mnie już zrozumiałe, ale dane, które są odświerzane jak rozumiem muszą skądś na nowo napłynąć do takiej pamięci DRAM, więc przechowywane sa one w innej pamięci(no chyba, że generowane na nowo przez procesory). Czy może polega to na tym, że najpierw z takiej DRAM odczytujemy jedną komóreczkę i zapisujemy na nowo to samo do niej, poto aby uzupełnić ładunek, odświerzyć komórkę, a następnie przechodzimy do następnej itd?
Ogólnie, chodzi mi cały czas o statyczny obraz, a jedynie pamięci RAM mają odpowiedni czas dostępu. A może są poprotu pamięci 24bitowe z takim krótkim czasem dostępu, ale SRAM - wtedy nie musiałbym sie martwić odświerzaniem - czy raczej 25ns to za mało jak na SRAM? No bo wydaje mi się, że pamięci stałe to za nic nie wyrobią przy 25ns - a jak takie będą to będą kosztować dobre kwoty
Proszę o sugestie. Acek dzięki za foty - mi się przydadzą
Poszukajcie sobie w jakiejś bibliotece książki "Anatomia PC". Tam jest wszystko co chcielibyście wiedzieć (ale boicie się zapytać
)
Np.:
http://helion.pl/ksiazki/anatp9.htm
Nawet nie musi to być najnowsze wydanie. Ja mam wyd. VI - już zawiera SDRAM (choć DDR jeszcze nie).
--
MDz
Np.:
http://helion.pl/ksiazki/anatp9.htm
Nawet nie musi to być najnowsze wydanie. Ja mam wyd. VI - już zawiera SDRAM (choć DDR jeszcze nie).
--
MDz
najprościej będzie zakupić SRAMy, powinny być bez problemu dostępne o takich pojemnościachPotrzebuję 512kB do 1Mb
odświeżanie sdramów nie polega na ponownym zapisie całej zawartości a jedynie na odczycie adresu (zatrzaśnięciu adresów?) kolumn albo wierszy(dokładnie nie pamiętam).
przy sterowniku lcd powinien wystarczyć sam odczyt w celu wyświetlenia na LCD (nie próbowałem tego)
Czytałem o tym dość dawno temu, mam nadzieje że bardzo nie przekręce 
Przy odczycie/zapisie najpierw zatrzaskujesz adres wiersza(kolumny?), potem kolumny (wiersza?) a potem odczytujesz/zapisujesz daną.
Przy odświeżaniu wystarczy że raz na jakiś czas już bez odczytu/zapisu zatrzaśniesz adres każdego wiersza(kolumny?)
Najlepiej przejrzyj pdfa od jakiegoś sdrama.
Przy odczycie/zapisie najpierw zatrzaskujesz adres wiersza(kolumny?), potem kolumny (wiersza?) a potem odczytujesz/zapisujesz daną.
Przy odświeżaniu wystarczy że raz na jakiś czas już bez odczytu/zapisu zatrzaśniesz adres każdego wiersza(kolumny?)
Najlepiej przejrzyj pdfa od jakiegoś sdrama.
Ogólnie bity w takich pamięciach zorganizowane są w matrycach składających sie z wierszy (rows)i kolumn (columns) cykle zapisu/odczytu wymagaja aby podać im na nogach adresowych najpierw adres wiersza (strobowany linią RAS), wtedy zawsze zawartość całego wiersza jest przepisywana do specjalnego bufora posredniczącego, a nastepnie można podawać adres kolumny (strobowany linią CAS) wtedy na wyjściu pojawi się zaadresowany bit. Jest wiele trybów pracy np jeden RAS i kilka kolejnych impulsów CAS wyczytujących kolejne bity z tego pośredniczącego bufora (bez koniecznosci cyklu RAS). Samo odświeżanie następuje właście w cyklu RAS (przy przepisaniu do bufora pośredniczącego) jeżeli konstrukcja zapewnia że w odpowiednim czsie nastąpi cykl RAS dla każdego wiersza to w zasadzie można nie robić osobnego systemu cykli odswieżania. Piszę z głowy (czyli z niczego;)) więc mogłem pomylić kolejność RAS i CAS. Jak zauważył poprzednik jedynie dokumentacja producenta do kości z których ta pamięć jest zrobiona da odpowiedż na wszystkie pytania.
bis
bis
-
bartekgajos
- -

- Posty:57
- Rejestracja:10 lis 2006, o 11:50
- Lokalizacja:Gdansk
Jesli moge wtracic
Sprawa chyba nie wyglada tak prosto z SDRAM'ami.
Trzeba ustawic odpowiednia konfiguracja po wlaczeniu zasilania ( ustawiona lub wygaszona odpowiednia linia adresowa w specjalnym cyklu )
Ponadto pamieci te doskonale nadaja sie do zapisu lub odczytu w trybie BURST / PAGE itp. sa wtedy szybkie, tzn jedna strona to ok. 1024 do 8192 bajty.
Ponadto nie trzeba w trybie PAGE ustawiac co jeden odczyt sygnalu RAS ani CAS, nawet nie podaje sie kolejnego adresu. sygnalem do skonczenia transmisji PAGE jest przepelnienie licznika ( wewnetrz kostki) lub wyslanie rozkazu BREAK ( przerwa )
Mozna oczywiscie ustawic rozne rodzaje transmisji ( 1,2,4,8,16 nitow, cala strona )
W ukladach tych mozna ustawic odswierzanie w tryb SEFL REFRESH ( to znaczy bez udzialu procesora )
Wada tych ukladow jest to ze trzeba dosyc skomplikowanego ukladu logicznego zeby te kostki sterowac ( polecam CPLD, sterownik mozna juz wcisnac w 300 komorek logicznych )
P.S. przepraszam za polskie znaki, nie jestem w Polsce.
Pozdrowienia
Sprawa chyba nie wyglada tak prosto z SDRAM'ami.
Trzeba ustawic odpowiednia konfiguracja po wlaczeniu zasilania ( ustawiona lub wygaszona odpowiednia linia adresowa w specjalnym cyklu )
Ponadto pamieci te doskonale nadaja sie do zapisu lub odczytu w trybie BURST / PAGE itp. sa wtedy szybkie, tzn jedna strona to ok. 1024 do 8192 bajty.
Ponadto nie trzeba w trybie PAGE ustawiac co jeden odczyt sygnalu RAS ani CAS, nawet nie podaje sie kolejnego adresu. sygnalem do skonczenia transmisji PAGE jest przepelnienie licznika ( wewnetrz kostki) lub wyslanie rozkazu BREAK ( przerwa )
Mozna oczywiscie ustawic rozne rodzaje transmisji ( 1,2,4,8,16 nitow, cala strona )
W ukladach tych mozna ustawic odswierzanie w tryb SEFL REFRESH ( to znaczy bez udzialu procesora )
Wada tych ukladow jest to ze trzeba dosyc skomplikowanego ukladu logicznego zeby te kostki sterowac ( polecam CPLD, sterownik mozna juz wcisnac w 300 komorek logicznych )
P.S. przepraszam za polskie znaki, nie jestem w Polsce.
Pozdrowienia
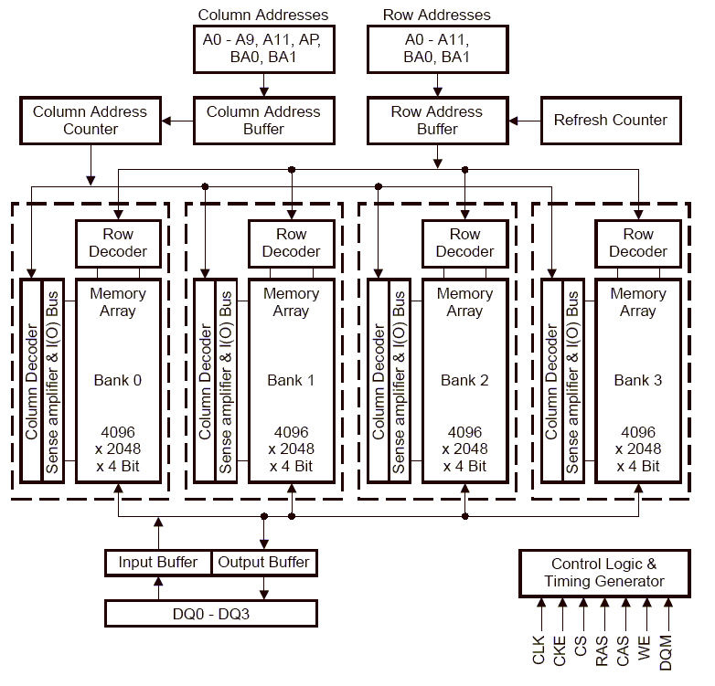
W jakiś sposób rozumiem o co chodzi, ponieważ powiedzieliście bardzo obrazowo. Dołączam obrazek, aby, mam nadzieję, dalsza dyskusja była łatwiejsza. Obraz pochodzi z http://www.ortodoxism.ro/datasheets/inf ... s128CT.pdf
Jak rozumiem użytkownik takiej pamięci sam generuje i podaje te adresy RAS i CAS - istnieją takie porty, bo ja byłem poprotu przekonany, że użytkownik ma jedynie możliwość podać konkretny adres komórki, a ten adres jest dekodowany i trafia do sterownika kolumny/wiersza i to dopiero one automatycznie "odpowiadają(zwracają)" zawartością komórki na portach wyjścia/wejścia.
Czy przepisanie polega także na wprowadzeniu zawartości np całej kolumny(czy wiersza) z matrycy pamięciowej do bufora o ograniczonym czasie przetrzymywania, chodzi mi, czy z bufora także dane ulatują po pewnym czasie?
I te cykliczne przepisanie do bufora już zapobiegnie ulotnieniu się danych z matrycy pamięciowej?
Jak rozumiem użytkownik takiej pamięci sam generuje i podaje te adresy RAS i CAS - istnieją takie porty, bo ja byłem poprotu przekonany, że użytkownik ma jedynie możliwość podać konkretny adres komórki, a ten adres jest dekodowany i trafia do sterownika kolumny/wiersza i to dopiero one automatycznie "odpowiadają(zwracają)" zawartością komórki na portach wyjścia/wejścia.
Czy przepisanie polega także na wprowadzeniu zawartości np całej kolumny(czy wiersza) z matrycy pamięciowej do bufora o ograniczonym czasie przetrzymywania, chodzi mi, czy z bufora także dane ulatują po pewnym czasie?
I te cykliczne przepisanie do bufora już zapobiegnie ulotnieniu się danych z matrycy pamięciowej?
-
bartekgajos
- -

- Posty:57
- Rejestracja:10 lis 2006, o 11:50
- Lokalizacja:Gdansk
http://arstechnica.com/paedia/r/ram_gui ... rt2-3.html - jeśli komuś się przyda
[ Dodano: 25-12-2006, 16:56 ]
Pozwolę sobie na nowo poruszyć temat pamięci RAM.
Przeczytałem fajny kurs którego url podałem powyżej. Faktycznie obsługa takiego SRD SDRAMu nie jest taka trudna. Mam tylko takie pytanie:
Czy po podłączeniu do zasilania takiej kości i podaniu odpowiedniego sygnału taktującego kość jest gotowa do pracy? Pytam, bo wspominają tam(w kursie) o LOAD MORE REGISTER - między innymi zdefiniowaniu w jaki sposób będą oddawane dane z takiej pamięci. Mnie interesowałoby odczytywanie całej strony(zakładam jeda kolumna przy jednym takcie). Czy w dokumentacjach piszą takie rzeczy, czy strona zawiera 512kolumn, czy 1024, czy może jeszcze więcej. Kolumna jak rozumiem to w kościach SDR 4bajty - 32bity, czy się mylę?
Druga sprawa, chciałbym się zapytać, co ile mam odświerzać pamięć i ile takie odświerzanie trwa(chodzi mi o odświerzanie automatyczne) - czy podczas tego odświerzania na buforze wyjścia są jakieś zmienne stany logiczne, czy powiedzmy cały czas same zera? Jest to dla mnie istotne, bo gdyby były same zera, to urządzenie jakie będzie sterowane tym ramem mogę dostosować tak, że podczas odświerzania pamięci urządzenie(matryca LCD) zrozumie, że to sygnał na sychnronizacje poziomą.
Trzcia sprawa i proźba zarazem - czy ktoś może metodą obrazkową wytłumaczyć mi czym się różni Chip select CS a Bank select BA0. Wstyd się przyznać - ale własnie w tym sie pogubiłem
[ Dodano: 25-12-2006, 16:56 ]
Pozwolę sobie na nowo poruszyć temat pamięci RAM.
Przeczytałem fajny kurs którego url podałem powyżej. Faktycznie obsługa takiego SRD SDRAMu nie jest taka trudna. Mam tylko takie pytanie:
Czy po podłączeniu do zasilania takiej kości i podaniu odpowiedniego sygnału taktującego kość jest gotowa do pracy? Pytam, bo wspominają tam(w kursie) o LOAD MORE REGISTER - między innymi zdefiniowaniu w jaki sposób będą oddawane dane z takiej pamięci. Mnie interesowałoby odczytywanie całej strony(zakładam jeda kolumna przy jednym takcie). Czy w dokumentacjach piszą takie rzeczy, czy strona zawiera 512kolumn, czy 1024, czy może jeszcze więcej. Kolumna jak rozumiem to w kościach SDR 4bajty - 32bity, czy się mylę?
Druga sprawa, chciałbym się zapytać, co ile mam odświerzać pamięć i ile takie odświerzanie trwa(chodzi mi o odświerzanie automatyczne) - czy podczas tego odświerzania na buforze wyjścia są jakieś zmienne stany logiczne, czy powiedzmy cały czas same zera? Jest to dla mnie istotne, bo gdyby były same zera, to urządzenie jakie będzie sterowane tym ramem mogę dostosować tak, że podczas odświerzania pamięci urządzenie(matryca LCD) zrozumie, że to sygnał na sychnronizacje poziomą.
Trzcia sprawa i proźba zarazem - czy ktoś może metodą obrazkową wytłumaczyć mi czym się różni Chip select CS a Bank select BA0. Wstyd się przyznać - ale własnie w tym sie pogubiłem
Kto jest online
Użytkownicy przeglądający to forum: Majestic-12 [Bot] i 0 gości


looknij tu 

[/center]