Witam.
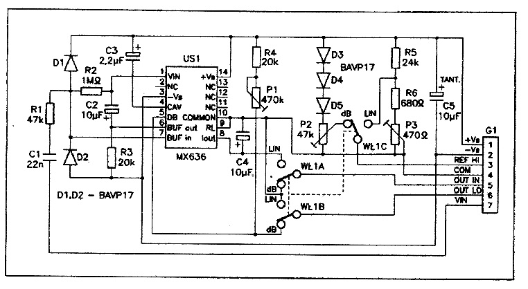
Poniżej zamieszczam schemat przetwornika "True RMS" na bazie układu MX536A lub MX636 firmy Maxim. Schemat pochodzi z Praktycznego Elektronika 9/1995. Potrzebuje, żeby ktoś mi opisał całą zasadę działania tego układu, a najważniejsze żeby mi wyjaśnił, dlaczego są użyte takie a nie inne elementy, za co każdy element odpowiada, dlaczego taka a nie inna wartość itp.
Z góry dziękuje za pomoc.
Aktyw Forum
Zarejestruj się na forum.ep.com.pl i zgłoś swój akces do Aktywu Forum. Jeśli jesteś już zarejestrowany wystarczy, że się zalogujesz.
Sprawdź punkty Zarejestruj sięMiernik True RMS
Moderatorzy:Jacek Bogusz, Moderatorzy
No, ale przecież masz wszystko dokładnie opisane w datasheet'cie tego układu, co do czego służy. Dlaczego jest takie, a nie inne. W notach aplikacyjnych są podane przykłady wykorzystania tego wraz z wyczerpującymi objaśnieniami. Ten układ z ep praktycznie nie różni się od domyślnej aplikacji tych scalaków, więc nie wiem w czym problem.
Kto jest online
Użytkownicy przeglądający to forum: Obecnie na forum nie ma żadnego zarejestrowanego użytkownika i 99 gości

